Norlind (Norlindh), släkt
Band 27 (1990-1991), sida 552.
Biografi
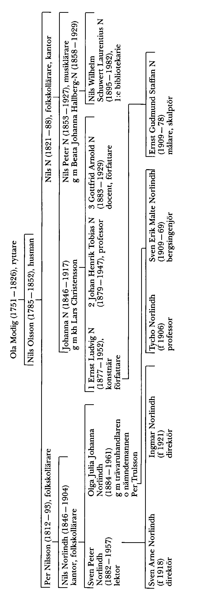
Norlind (Norlindh), släkt, härstammande från ryttaren Ola Modig (1751–1826) i Västra Karaby, Västra Karaby, Malm, som var med i kriget mot Ryssland 1788–90. Hans son husmannen Nils Olsson (1785–1852) i Västra Karaby var far till folkskolläraren och kantorn Nils N (1821–88) i Saxtorp, Malm. Dennes son Nils Peter N (1853–1927) var musiklärare vid folkskoleseminariet i Lund 1889–1919. Han grundade där 1891 N P N:s musikskola tillsammans med sin hustru Beata Johanna Hallberg-N (1858–1929), vilken 1912 efterträdde honom som ledare för det av bl a honom 1909 grundade Sydsv musikkonservatoriet (nu Musikhögskolan i Malmö). Tillsammans med C F Hennerberg publicerade han Handbok om orgeln, 1–2 (1912). N var också landskapsmålare och porträttecknare. En större samling handskrivna musikalier av honom finns i LUB.
Hans son Nils Wilhelm Schuwert Laurentius N (1895–1982) blev fil lic 1920, befordrades vid LUB till l:e bibliotekarie 1948 och blev fil hedersdr 1956. Förutom matriklar – Sv biblioteksmatrikel (1932) och LU:s matriklar 1939 (tills med B Olsson) samt 1949–50 och 1959–60 (båda tills med M Persson) – märkes bland Wilhelm N:s tryckta skrifter framför allt en rad arbeten om 1500-talsastronomen Tycho Brahe, vilka började redan 1926 med ett par uppsatser och översättningen Ur Tycho Brahes brevväxling, fortsatte med flera smärre skrifter och en kommenterad översättning 1951 av den franske filosofen P Gassendis 1654 utgivna biografi över Brahe och avslutades med en kort och en utförlig biografi över Brahe 1963 resp 1970.
En faster till Wilhelm N var i äktenskap med kh Lars Christensson mor till konstnären och författaren Ernst Ludvig N (N 1), professor Johan Henrik Tobias N (N 2) och författaren docent Gottfrid Arnold N (N 3). N 1 blev far till målaren och skulptören Ernst Gudmund Staffan N (1909–78).
Nils N:s bror folkskolläraren Per Nilsson (1812–93) i Västra Karaby var far till kantorn och folkskolläraren Nils Norlindh (1846–1904) i Glimåkra, Krist. Dennes son Sven Peter Bror Albert Norlindh (1882–1957) blev fil dr vid GH på avhandlingen Sveriges vattenkraftsresurser (1925) och var från 1927 lektor i historia och geografi vid Högre allmänna läroverket i Linköping. Sven Norlindh var far till direktörerna Sven Arne Norlindh (f 1918) och Ingmar Norlindh (f 1921).
En syster till Sven Norlindh blev i äktenskap med trävaruhandlaren och nämndemannen Per Trulsson mor till fd professorn i botanik vid Naturhistoriska riksmuseet Tycho Norlindh (f 1906) och till bergsingenjören Sven Erik Malte Norlindh (1909–69). Erik Norlindh blev 1944 försäljningschef vid varmvalsverket i Morgårdshammars mekaniska verkstads ab i Norrbärke, Kopp. 1964 lämnade han detta företag för att helt ägna sig åt det av honom 1950 etablerade ab In va, som förvaltade hans patent inom valsverksområdet.
Författare
HG-m
Sök i Nationella Arkivdatabasen
Källor och litteratur
Källor o litt: Allmänt: T B Lundberg, Bilder o blad ur Glimåkra sockens krönikebok, 3 (1926), s 210 f; Wilhelm N, Om "klockarens" i Saxtorp (Lunds stifts julbok 1942); dens, Om Ernst N:s släkt (Sydsv Dagbl Snällposten 9 mars 1953); SMoK 5 (1949).
Ola Modig: Generalmönsterrullor, vol 903–912, Norra skånska kavallerireg:ts rullor efter 1724, vol 248 o 250, Krigskolhs krigsmanshus-kontors arkiv, serie D, vol 16 a, o serie G I c: verifikationer till huvudboken 1826, vol IV, KrA; Wilhelm N, a a 1942.
Nils N: Wilhelm N, a a 1942.
Nils Peter N: TU 7:85, KB;' Å Davidsson, Bibliografi över sv musiklitt 1800–1945 (1948); B H[am]b[raeu]s, Nils Peter N (Sohlman); Musiklexikon (1978); Norlind; N P N (Kyrkomusik o skol-sång, 2, 1908); B Oflsson], Nils Peter N (SKL 4, 1959-61); SjSk 2; SPG.
Nils Wilhelm Schuwert Laurentius N: E Gerle, LUM 1967-68 (1968); SFL 1951–55 (1959); d:o 1961–65 (1968); d:o 1966–70 (1975); Sv bibl.matr 1966 (1967); Väd 1987 (1986); Wilhelm N (DN 21 jan 1982); Väv. Skåne. Halland. Blekinge, 2. uppl (1966).
Ernst Gudmund Staffan N: E L[iljegren], Staffan N (SKL 4, 1959-61); Staffan N (SvD 13 april 1978); Väv. Skånedelen (1948).
Sven Peter Bror Albert Norlindh: H Gejrot mfl, Lärarmatr:n 1946 (1946); Sven Norlindh död (SvD 26 aug 1957); Väv. Götalandsdelen (1948).
Sven Erik Malte Norlindh: P G Ekman, Erik Norlindh död (SvD 5 nov 1969); dens, Erik Norlindh (Dödsrunor utg av Sancte Örjens gille, 7:30, 1971); Erik Norlindh (DN 6 nov 1969); Väv. Svealand, 2. uppl (1964).
Hänvisa till den här artikeln
Bäst är förstås om man kan göra en hänvisning till den tryckta versionen. Om man vill hänvisa till webbversionen måste man göra en länk till aktuell sida så att det är tydligt att det är webbversionen man hänvisar till.
Ett exempel på en hänvisning till denna artikeln är:
Norlind (Norlindh), släkt, https://sok.riksarkivet.se/sbl/artikel/8380, Svenskt biografiskt lexikon (art av HG-m), hämtad 2026-04-03.
Du kan också hänvisa till den här artikeln med hjälp av dess unika URN-nummer som är: urn:sbl:8380
URN står för Uniform Resource Name och är en logisk identifierare för denna artikel, till skillnad från dess länk, som är en fysisk identifierare.
Det betyder att en hänvisning till artikelns URN alltid kommer att vara giltig, oavsett framtida förändringar av denna webbsida.
En sådan hänvisning kan se ut på följande sätt:
Norlind (Norlindh), släkt, urn:sbl:8380, Svenskt biografiskt lexikon (art av HG-m), hämtad 2026-04-03.






